Вернуться   Архангельский клуб владельцев и любителей автомобиля Шевроле Нива > Технические разделы > Своими руками

Своими руками Обсуждение как и чего можно сделать самому.


Ответ
 
Опции темы Опции просмотра
Старый 04.05.2011, 22:56   #1
Windy
Администратор
 
Аватар для Windy
 
Регистрация: 20.03.2009
Имя: Валентин
Адрес: Архангельск
Сообщений: 4,887
Изображений: 386
Вес репутации: 126
Репутация: 1646
Дневные ходовые огни (ДХО) на ШНиву своими руками

В свете последних веяний ПДД реализовал у себя на Фьюжене схему включения ближнего света фар вместе с пуском двигателя, без включения габаритов, нажатия каких-либо кнопок и переключателей, т.е. АВТОМАТИЧЕСКИ Это так называемые "Дневные ходовые огни" (ДХО). Причем, изначально ставил задачу не "колхозить" дополнительных осветительных приборов, а реализовать штатно применяемые на иномарках схемы ДХО с использованием родного светотехнического оборудования.
Сейчас вполне доволен: двигатель запущен, ближний свет горит автоматически, габариты не горят, подсветка приборов тоже. Габариты включаю, ближний гаснет, и дальше все работает по обычной схеме.
Плюсы:
- никогда не забудешь включить ближний свет (штраф 100 руб).
- постоянно горит только ближний свет, габариты не горят, патроны не плавят, подсветка приборов не горит.
Минусов не замечено.
Реализация ДХО для ШНивы (по материалам www.chevy-niva.ru):

Управляемый ручником ДХО на ближнем свете фар.



К – любое нормально-замкнутое реле, можно малогабаритное до трех ампер.
Д – диоды 1N4007 (1А 1000в)
Ш- разъем монтажного блока, первая цифра- номер разъема, вторая – номер контакта в разъеме.
Х1 – белый разъем приборного щитка.
Суть доработки : ставится дополнительное реле, которое будет включать штатное реле ближнего света фар К4. При включении зажигания двигатель не работает, через диод Д2 реле К(нз) включится и фары ближнего света гореть не будут. На заведенном двигателе на датчике давления масла массы не будет (его контакты размыкаются) и реле выключится, фары ближнего света загорятся. Если при работающем двигателе поднять ручник, реле К включится, его контакты разомкнутся и фары потухнут. Включение габаритов не влияет на работу этой схемы, но и схема не нарушает работу штатных кнопок. ГАБАРИТЫ ВЫКЛЮЧЕНЫ :
1.включено зажигание, двигатель не работает – фары не горят.
2.двигатель работает, ручник поднят – фары не горят.
3.двигатель работает, ручник опущен – фары ГОРЯТ.

ГАБАРИТЫ ВКЛЮЧЕНЫ, кнопка «Ближний свет» не нажата :
1.двигатель работает, ручник опущен – фары ГОРЯТ.
2.двигатель работает, ручник поднят – фары не горят.
При включенных габаритах и нажатой кнопке «Ближний свет» ручник никак не влияет на работу ближнего света фар.
Справка.
Если двигатель работает, ручник опущен, габариты выключены и фары ближнего света фар почему-то не горят. Это плохо. Либо действительно нет давления масла в двигателе, либо проблемы с датчиком давления масла.
__________________
Сейчас: Nissan
Были: ШН Снежка, 2004 г.в., Форд Фьюжен, 2005 г.в., SsangYong Kyron, дизель, РКПП, 2013 г.в.
ШНГ - повезет, так повезет!
Главное - не размер джипа, а умение им пользоваться
Windy вне форума   Профиль Windy Послать Windy личное сообщение Найти сообщения Windy Страничка Windy Ответить с цитированием
Старый 04.05.2011, 23:30   #2
_Den_
Администратор
 
Аватар для _Den_
 
Регистрация: 27.03.2009
Имя: Denis
Адрес: Архангельск
Возраст: 47
Авто: MMC Outlander XL
Сообщений: 3,739
Изображений: 17
Вес репутации: 132
Репутация: 3325
Re: Дневные ходовые огни (ДХО) на ШНиву своими руками

У меня автосвет и евросвет. На улице темно - свет горит. Еду быстрее 15 км/ч - свет горит. А за реализацию +
__________________
Застрянем там, куда другие не доедут
_Den_ вне форума   Профиль _Den_ Послать _Den_ личное сообщение Найти сообщения _Den_ Ответить с цитированием
Старый 04.05.2011, 23:31   #3
Roman
Живёт тут
 
Аватар для Roman
 
Регистрация: 25.06.2010
Имя: Роман
Адрес: Архангельск
Авто: ШН Снежка 2008. Была: ШН Снежка 2004.
Сообщений: 1,018
Изображений: 78
Вес репутации: 89
Репутация: 2133
Re: Дневные ходовые огни (ДХО) на ШНиву своими руками

Напрягало ездить с ближним. Лампы "темнеют". Да и круглосуточные 2 по 55 ватт. И не по канонам дневных огней они светят...

Вставит в птф светодиоды (2 по 5 ватт). Результат лучше чем я ожидал. Использую такой вариант в качестве ДХО.
Всем требованиям соответствуют.
Миниатюры
Нажмите на изображение для увеличения
Название: z_d8184820.jpg
Просмотров: 38552
Размер:	226.0 Кб
ID:	2531  
Roman вне форума   Профиль Roman Послать Roman личное сообщение Найти сообщения Roman Страничка Roman Ответить с цитированием
Старый 05.05.2011, 09:22   #4
Neverhood
Администратор
 
Аватар для Neverhood
 
Регистрация: 20.03.2009
Имя: Дима
Адрес: Архангельск
Сообщений: 4,658
Изображений: 118
Вес репутации: 132
Репутация: 2481
Re: Дневные ходовые огни (ДХО) на ШНиву своими руками

а как же петуш-ленты светодиодные? Промышленность такие разные варианты выпускает! Валентин, за реализацию - 5! а за лампы - 2. Не экономно лампов свет тратить. 110 вт всё таки светят. А у тебя на фьюжике ещё и лампа 2-х нитивая. Дороже и обиднее если перегорят. У Роман Сергеевича более подходящая конструкция для ДХО. Осталось соединить Валентина схему с Роминымы ДХО
__________________


[email protected]
Neverhood вне форума   Профиль Neverhood Послать Neverhood личное сообщение Найти сообщения Neverhood Ответить с цитированием
Старый 05.05.2011, 13:20   #5
Windy
Администратор
 
Аватар для Windy
 
Регистрация: 20.03.2009
Имя: Валентин
Адрес: Архангельск
Сообщений: 4,887
Изображений: 386
Вес репутации: 126
Репутация: 1646
Re: Дневные ходовые огни (ДХО) на ШНиву своими руками

Цитата:
Сообщение от Neverhood Посмотреть сообщение
Дороже и обиднее если перегорят

На счет дороже можно и поспорить - в противотуманку лампочки тоже по-разному стоят, ну и менять лампочку в туманке то еще удовольствие, а в блок фаре гораздо удобнее. Именно поэтому, я вариант с туманками даже не рассматривал И у Романа, судя по фото, еще и габариты горят, а на ШНиве это чревато оплавленными патронами и еще большим удовольствием.
И не забывайте, что свет в светлое время суток нужен не Вам и ГИБДД, а другим участникам движения, чтобы автомобиль было лучше/раньше видно. А как светят светодиоды рассказывать никому не нужно - никак.

Цитата:
Сообщение от Neverhood Посмотреть сообщение
Осталось соединить Валентина схему с Роминымы ДХО

Всё уже придумано до нас:

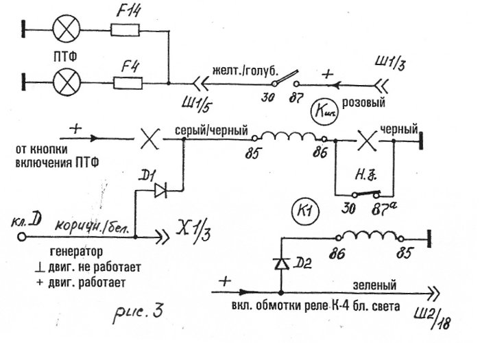
ДХО НА ПРОТИВОТУМАННЫХ ФАРАХ



К шт –штатное реле включения ПТФ , находится под монтажным блоком.
К1 – новое нормально-замкнутое реле, можно и маломощное до 3А.
Д – диоды 1N4007 (1А 1000в
Ш-разъем монтажного блока, первая цифра – номер разъема, вторая – номер контакта в раъеме.
Х1 – белый разъем приборного щитка.

Суть доработки : нужно найти реле включения ПТФ , откусить управляющий плюс от кнопки включения ПТФ , это провод серый\черный. И переключить управление по плюсу через диод на коричн.\белый провод кл.Д генератора. Порвать провод массы с реле и подключить контакты вновь установленного реле, это будет управление по минусу.

На заведенном двигателе плюс 12в через диод Д1 включит штатное реле ПТФ и противотуманные фары загорятся. При включении ближнего света фар плюс через диод Д2 включит реле К1 (нз). Его контакты разомкнутся и фары ПТФ потухнут. При выключении ближнего света фар контакты реле К1 (нз) замкнутся и ПТФ включатся. Данная схема позволяет использовать ПТФ в качестве дневных ходовых огней.
1.зажигание включено, двигатель не работает – ПТФ не горят.
2. двигатель работает – ПТФ ГОРЯТ.
3. двигатель работает, включен ближний свет фар – ПТФ не горят.
Включение, выключение габаритов не влияет на работу ПТФ . Противотуманные фары горят только на заведенном двигателе без нажатия каких-либо кнопок и не горят при включении ближнего света фар
Миниатюры
Нажмите на изображение для увеличения
Название: dho03_3.jpg
Просмотров: 95239
Размер:	44.2 Кб
ID:	2536  
__________________
Сейчас: Nissan
Были: ШН Снежка, 2004 г.в., Форд Фьюжен, 2005 г.в., SsangYong Kyron, дизель, РКПП, 2013 г.в.
ШНГ - повезет, так повезет!
Главное - не размер джипа, а умение им пользоваться
Windy вне форума   Профиль Windy Послать Windy личное сообщение Найти сообщения Windy Страничка Windy Ответить с цитированием
Старый 05.05.2011, 13:48   #6
Roman
Живёт тут
 
Аватар для Roman
 
Регистрация: 25.06.2010
Имя: Роман
Адрес: Архангельск
Авто: ШН Снежка 2008. Была: ШН Снежка 2004.
Сообщений: 1,018
Изображений: 78
Вес репутации: 89
Репутация: 2133
Re: Дневные ходовые огни (ДХО) на ШНиву своими руками

Хотел было возразить что габариты я включаю не для правил и не для ДХО, а чтоб виднее машину было.... а потом вспомнил что без них ПТФ не зажгутся. (но при желании можно отвязать)
В автошколе меня так научили - что всегда с габаритами.

Ну а то что плавится плафон - дак габаритную тоже менять на светодиодную надо. Вне зависимотси от того когда и как часто вы её используете.

Видел как в ПТФки всталяют кольца со светодиодами, ленты... И выводят на отдельную кнопку.
Roman вне форума   Профиль Roman Послать Roman личное сообщение Найти сообщения Roman Страничка Roman Ответить с цитированием
Старый 05.05.2011, 14:13   #7
SAN 296
Гуру
 
Аватар для SAN 296
 
Регистрация: 25.09.2010
Имя: Александр
Адрес: Архангельск
Возраст: 53
Авто: Шеви Нива 2006г.
Сообщений: 547
Изображений: 42
Вес репутации: 63
Репутация: 150
Re: Дневные ходовые огни (ДХО) на ШНиву своими руками

Цитата:
Сообщение от Neverhood Посмотреть сообщение
а как же петуш-ленты светодиодные? Промышленность такие разные варианты выпускает! Валентин, за реализацию - 5! а за лампы - 2. Не экономно лампов свет тратить. 110 вт всё таки светят. А у тебя на фьюжике ещё и лампа 2-х нитивая. Дороже и обиднее если перегорят. У Роман Сергеевича более подходящая конструкция для ДХО. Осталось соединить Валентина схему с Роминымы ДХО

Я так тоже думаю,надо до минимума снизить нагрузку на генератор.

Последний раз редактировалось SAN 296; 06.05.2011 в 08:46.
SAN 296 вне форума   Профиль SAN 296 Послать SAN 296 личное сообщение Найти сообщения SAN 296 Ответить с цитированием
Старый 05.05.2011, 14:53   #8
Костя
Живёт тут
 
Аватар для Костя
 
Регистрация: 22.06.2009
Имя: Костя
Адрес: Западное Мурино
Возраст: 45
Авто: 11173, метро))
Сообщений: 4,890
Вес репутации: 127
Репутация: 1889
Re: Дневные ходовые огни (ДХО) на ШНиву своими руками

Цитата:
Сообщение от Roman Посмотреть сообщение
Хотел было возразить что габариты я включаю не для правил и не для ДХО, а чтоб виднее машину было.... а потом вспомнил что без них ПТФ не зажгутся. (но при желании можно отвязать)
В автошколе меня так научили - что всегда с габаритами.

Я переделал, птф включаются отдельно от всего.
Костя вне форума   Профиль Костя Послать Костя личное сообщение Найти сообщения Костя Ответить с цитированием
Старый 08.05.2011, 23:08   #9
Wild Fly
Местный
 
Аватар для Wild Fly
 
Регистрация: 30.09.2010
Имя: Кирилл
Адрес: Северодвинск
Возраст: 46
Авто: TLC Prado 120
Сообщений: 101
Вес репутации: 58
Репутация: 97
Re: Дневные ходовые огни (ДХО) на ШНиву своими руками

Вариант с ближним светом получше будет, только ручник не нужен совсем.
Wild Fly вне форума   Профиль Wild Fly Послать Wild Fly личное сообщение Найти сообщения Wild Fly Ответить с цитированием
Старый 30.05.2011, 20:30   #10
Roman
Живёт тут
 
Аватар для Roman
 
Регистрация: 25.06.2010
Имя: Роман
Адрес: Архангельск
Авто: ШН Снежка 2008. Была: ШН Снежка 2004.
Сообщений: 1,018
Изображений: 78
Вес репутации: 89
Репутация: 2133
Re: Дневные ходовые огни (ДХО) на ШНиву своими руками

ДХО в ПТФ на РеШН

http://www.drive2.ru/cars/chevrolet/...52166698/#post

ДХО в ПТФ на дорестайлинге:
http://www.drive2.ru/cars/chevrolet/...52258401/#post

Последний раз редактировалось Roman; 11.07.2011 в 13:45.
Roman вне форума   Профиль Roman Послать Roman личное сообщение Найти сообщения Roman Страничка Roman Ответить с цитированием
Ответ



Закладки


Здесь присутствуют: 1 (пользователей: 0 , гостей: 1)
 
Опции темы
Опции просмотра

Ваши права в разделе
Вы не можете создавать новые темы
Вы не можете отвечать в темах
Вы не можете прикреплять вложения
Вы не можете редактировать свои сообщения

BB коды Вкл.
Смайлы Вкл.
[IMG] код Вкл.
HTML код Выкл.

Быстрый переход

Похожие темы
Тема Автор Раздел Ответов Последнее сообщение
Бюджетный лифт ШНивы своими руками Windy Своими руками 374 15.01.2016 03:16
Клубная футболка своими руками! Neverhood Своими руками 26 27.12.2011 22:49
Шумоизоляция своими руками _Den_ Своими руками 55 11.06.2011 00:02
Прицеп - своими руками Olegich Своими руками 2 07.04.2010 20:00
Замена хайджеку своими руками Windy Своими руками 13 05.04.2010 22:10


Часовой пояс GMT +3, время: 23:50.


Powered by vBulletin® Version 3.8.1
Copyright ©2000 - 2026, Jelsoft Enterprises Ltd. Перевод: zCarot

Top.Mail.Ru Яндекс.Метрика International NIVA Club